财务小王
我们公司已经开始办理市场监管部门简易注销流程,税务这边还需要办理清税证明吗?
如果公司符合免办情形,可免予到税务机关办理清税证明,直接向市场监管部门申请办理注销~
申税小微
根据《国家税务总局关于进一步优化办理企业税务注销程序的通知》(税总发〔2018〕149号,以下简称《通知》)规定,对向市场监管部门申请简易注销的纳税人,符合下列情形之一的,可免予到税务机关办理清税证明,直接向市场监管部门申请办理注销登记。
(一)未办理过涉税事宜的;
(二)办理过涉税事宜但未领用发票、无欠税(滞纳金)及罚款的。

即办
财务小张
我们公司办理注销能不能当场出清税证明?
对于符合即办情形的公司,税务机关可即时出具清税文书。
申税小微
根据税总发〔2018〕149号文规定,对向市场监管部门申请一般注销的纳税人,税务机关在为其办理税务注销时,进一步落实限时办结规定。对未处于税务检查状态、无欠税(滞纳金)及罚款、已缴销增值税专用发票及税控专用设备,且符合下列情形之一的纳税人,优化即时办结服务,采取“承诺制”容缺办理,即:纳税人在办理税务注销时,若资料不齐,可在其作出承诺后,税务机关即时出具清税文书。
(一)纳税信用级别为A级和B级的纳税人;
(二)控股母公司纳税信用级别为A级的M级纳税人;
(三)省级人民政府引进人才或经省级以上行业协会等机构认定的行业领军人才等创办的企业;
(四)未纳入纳税信用级别评价的定期定额个体工商户;
(五)未达到增值税纳税起征点的纳税人。
注意
纳税人应按承诺的时限补齐资料并办结相关事项。若未履行承诺的,税务机关将对其法定代表人、财务负责人纳入纳税信用D级管理。
《国家税务总局关于深化“放管服”改革更大力度推进优化税务注销办理程序工作的通知》(税总发〔2019〕64号)文又进一步扩大了即办范围:
(一)未办理过涉税事宜的纳税人,主动到税务机关办理清税的,税务机关可根据纳税人提供的营业执照即时出具清税文书。
(二)办理过涉税事宜但未领用发票、无欠税(滞纳金)及罚款的纳税人,主动到税务机关办理清税,资料齐全的,税务机关即时出具清税文书;资料不齐的,可采取“承诺制”容缺办理,在其作出承诺后,即时出具清税文书。
(三)经人民法院裁定宣告破产的纳税人,持人民法院终结破产程序裁定书向税务机关申请税务注销的,税务机关即时出具清税文书,按照有关规定核销“死欠”。
今年的便民办税春风行动指出要“便利注销办理”,实现企业分支机构注销即办,对申请注销时未处于税务检查状态、无欠税(滞纳金)及罚款、已缴销发票和税控专用设备的企业分支机构,若由总机构汇总缴纳增值税、企业所得税,并且不就地预缴或分配缴纳增值税、企业所得税的,税务机关提供即时办结服务。
财务小张
那怎么样才知道自己的公司是符合哪种清税注销情形呢?
您可以登录上海市电子税务局“清税注销套餐”查看。
申税小微
具体操作
01
登录电子税务局,点击界面左侧套餐业务中的“清税注销套餐”。
02
补全注销申请信息,下拉框选择“注销原因”,点击“下一步”后,系统将对纳税人的所有指标进行校验,系统飞速运转,请耐心等待哦!

符合即办条件的纳税人可以继续在电子税务局中办理注销,也可选择携带承诺书和相关资料至主管税务机关办税服务厅办理注销。

校验完成后,可以通过页签切换的方式,详细查看三大类监控指标中校验不通过的指标。
第一栏为“即办资格”,共有六类即办情形,符合其中任意一类,即符合即办条件。

第二栏为“即办条件验证结果”,异常类型分为强制类和非强制类,需在申请注销前完成全部强制类未办结事项。
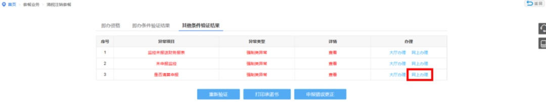
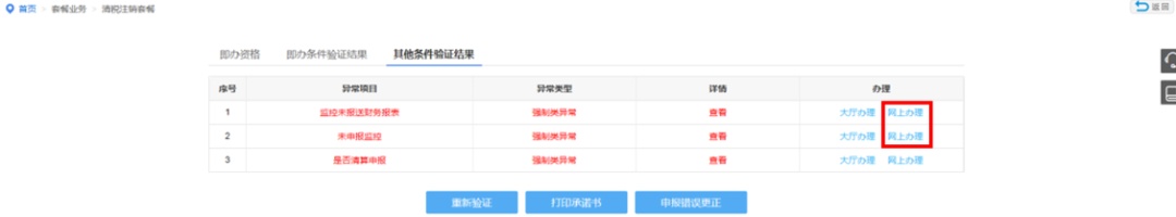
第三栏为“其他条件验证结果”。

03
点击监控事项“是否清算申报”办理列的“网上办理”按钮,在办理申报前先完成清算报备。


04
完成清算报备后,企业状态变为清算,按照系统提示,进入注销套餐逐项办理其他未办结事项。



温馨提示
1.完成企业所得税季度申报后,点击重新验证,继续填写企业所得税年度申报表。
2.若需缴纳税款,可以在“申报结果查询”中点击“缴款/查询”,自行选择缴款方式。
3.当期的个人所得税申报可以在自然人电子税务局(扣缴端)完成。

05
在所有事项办结后,点击“重新验证”,符合即办条件的企业点击“申请注销”,跳出提示“确认是否进行注销”,确认无误后点击“确定”,跳转至清税证明(注销通知书)下载界面。勾选pdf文档,点击“下载”,保存文书。



清税证明(注销通知书):


一般流程

财务小李
申税小微,我们公司不符合免办和即办条件又怎么办呢?
对不符合免办和即办条件的企业,在办理注销税务登记时通过一般流程申请注销,前置步骤与即办流程的的操作步骤相同,在最后一步时点击“申请注销”,发起一般注销流程,填写申请表,确认无误后提交任务,受理、审批通过后,完成注销。
申税小微
企业可通过电子税务局——登录——免登陆功能——注销登记查询模块查询是否注销完成,如果注销完成可在该节点打印或补打清税证明(注销通知书)。

