导语 |李子柒品牌商标,是被微念“偷窃”、“抢注”了吗?
自从正式起诉其mcn机构杭州微念,李子柒就已经化身为屠龙少年英雄:身为创作者,孤身一人,肉搏“嗜血资本”。
近日,更有媒体将杭州微念申请的李子柒商标均被驳回,商标流程状态变更为无效、等待驳回复审解读为:“杭州微念抢注李子柒商标”。真相如何呢?
据海豚独家了解,微念早在2016年8月与李佳佳达成合作,在开始合作早期就保护性的注册了李子柒品牌,而后微念和李子柒合资成立了四川子柒文化,就将所有注册成功的商标,都转入了这家公司。并且此后250多个包括食品、园艺、服装、酒水、化妆品主要李子柒商标都放在四川子柒文化有限公司,商标代理合作机构都是微念找的。而大部分商标,为2017年公司成立后注册。
相关信息,海豚智库通过第三方的商标注册网站得到证实。
► 李子柒商标遭资本抢注?微念将李子柒品牌转入四川子柒文化传播公司
海豚智库分析师查询公开资料显示:包括“李子柒”“子柒”“柒”“LIZIQI”在内的258件成功注册的商标,申请人都是四川子柒文化。注意,最早的“李子柒”商标申请时间在2016年8月29日,正好是李子柒刚刚和微念合作的时间点,甚至早于四川子柒文化成立时间(2017年7月)。
工商信息显示,四川子柒文化传播有限公司至今无人,它就是由微念注册及运营的空壳公司。所以李子柒相关商标注册由微念运营团队操作,所以早在2017年,就完全可以把商标注册在微念旗下。
也就是说,微念早在2017年,就将李子柒消费品牌放到双方共同参股的空壳公司,希望和李子柒本人利益共享,品牌共创;微念没想到的是,自己是四川子柒文化的控股股东,而如今李佳佳通过四川子柒文化传播有限公司,起诉了杭州微念。
所谓”杭州微念申请的李子柒商标均被驳回”又是怎么回事呢?
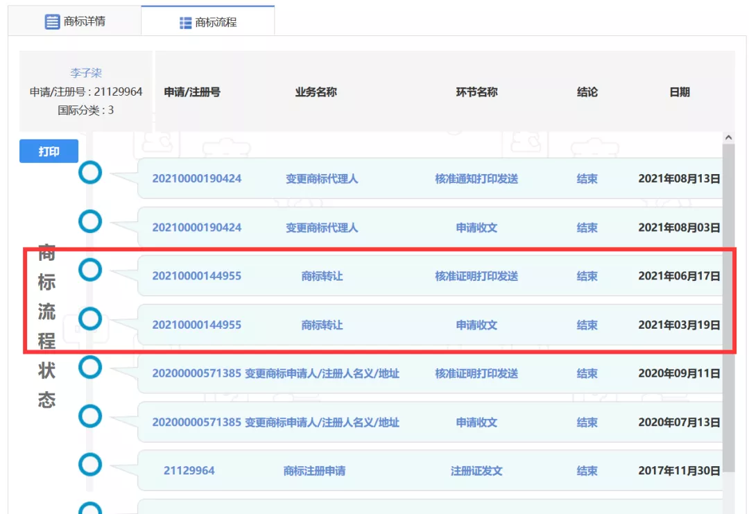
打开第一批“李子柒”商标详情页和流程页,就能发现,李子柒商标被转让过!2021年3月19日申请转让,6月17日转让成功:
而商标局网站的商标详情页,只显示最后的商标持有人,转让前的申请人并不显示。也就是说四川子柒文化传播有限公司并非最初的申请人。那么最初的申请是谁呢?
这就得查询商标转让公告,结果显示:最初的商标申请人,也就是转让人,竟然是杭州微念品牌管理有限公司!
我们再查询了所有四川子柒文化传播有限公司名下的“李子柒”商标,大多数是从杭州微念品牌管理有限公司转让而来的。
杭州微念在今年3月19日把名下所有的“有效”的“李子柒”商标都转让给了四川子柒文化传播有限公司。把当初申请被驳回无效的商标留在了自己名下(当然无效商标也无法转让),这就形成了媒体报道:杭州微念公司名下的“李子柒”商标都无效了,都被驳回了。其实微念一早就把有效的商标转让给四川子柒公司了,剩下的当然都是无效的了。
所谓“微念抢注商标”,根本不成立。
► 李子柒品牌归属权之谜
根据海豚社.2021中国新消费新国货品牌TOP100排行榜数据,2020年销售16亿的李子柒消费品品牌属于谁呢?答案是四川子柒文化,也是这次起诉的主体。这家公司成立于2017年7月,由微念持股51%、李子柒持股49%。
这家公司何以成立呢?据李子柒个人助理微博账号@ 她助理 公布的公开信息,李子柒从2017年12月四川子柒文化成立以后,就已经和杭州公司无经纪合约了,和微念的合作方式转变了。
微念公众号也证实了双方合作关系转变,由合约模式转合资公司模式:
也就是说,之所以成立这家合资公司,是微念尊重李子柒,希望和她不只是经纪合约合作方式,而是共创品牌,利益共享。
企查查显示,四川子柒文化公司的参保人数为0,而杭州微念的参保人数为504。这与海豚智库独家了解的,服务李子柒的团队就将近500人,其中商品运营团队200余人的事实,刚好相符。这意味着,实际运营李子柒消费品牌的人员,都归属于杭州微念,由杭州微念发工资,而李子柒握有股权的子柒文化,仅仅是为了让渡利益给她而设立的空壳公司。
企查查还显示,李子柒螺蛳粉生产商,广西兴柳食品有限公司,杭州微念持股70%,杭州创柳食品有限公司持股30%,李子柒并不持股。也就是说,李子柒品牌的生产是杭州微念负责。
2018年8月,李子柒天猫旗舰店正式开业,店铺工商注册主体也是微念:
“如果微念要独吞这个项目,要控制李子柒,压榨合作伙伴,毫无必要早早成立合资公司,还将品牌转到子柒文化。”海豚智库创始人李成东认为,如果要“控制”一个网红,MCN机构应该牢牢把控账号运营权和品牌归属权,即便网红反悔跑路,公司能把损失降到最低。
海豚智库认为,作为品牌实际运作者,微念完全可以选择,用微念主体去注册李子柒商标,毫无必要把这么多核心业务的商标,早早转入四川子柒文化。
杭州微念从开始就没选择这个利益最大化的最优解,而是自己出钱出力干了一切,还拿出了最大的诚意和李子柒利益共享,和李子柒共创品牌。
当时的杭州微念一定不会想到,当年自己想要共创品牌一起成长的那个少女,如今会和自己对簿公堂。
版权声明:本文内容由互联网用户自发贡献,该文观点仅代表作者本人。本站仅提供信息存储空间服务,不拥有所有权,不承担相关法律责任。如发现本站有涉嫌抄袭侵权/违法违规的内容, 请发送邮件至 举报,一经查实,本站将立刻删除。
