作为产品经理,在日常工作中,你是否遇到过这些问题?
- 页面流程、业务流程、用户操作流程、系统交互流程…傻傻分不清楚,弄不清楚什么时候该画什么流程图;
- 项目开发过程中反复被开发叫过去梳理业务流程,频繁出现逻辑思考不完整,不得不重新补需求的情况;
- 一会用Axure画流程图、一会用Visio、一会用Precess,没有真正用得习惯的画图工具,流程图元素混乱不清,没有标准的定义;
如果你遇到以上一个或多个问题,那么表明你画流程图的能力还需要提升,这篇文章,我们一起来梳理下业务流程。
01.什么是业务流程
业务流程是不同角色,完成业务目标的先后顺序,是一系列步骤、程序,是对每个环节进行的程序化处理。
角色可以是任何对象,例如人、系统、部门、公司…
一个业务流程由多个连续的活动组成,复杂的业务流程还分为子流程。
业务流程有多种类型,例如部门人与人之间的业务流程、用户(人)与系统(产品)的交互业务流程、系统与系统之间的业务流程。
人与人之间的业务流程如公司的请假、调休、转岗、离职等,OA系统里面会有很多这种流程。
人与系统的业务流程如注册、登录、找回密码这些基础流程,还有如打车、叫外卖、购物的业务流程。系统可以看作是一个黑箱子,箱子里面又包含有前端和后端等。
系统与系统的业务流程主要在于进行数据交互,系统使用结构化设计,将整个系统拆分成很多聚合度很高、耦合度很低的模块,模块之间除了内部交互外,还需外部系统进行交互,系统之间的交互通常使用接口。
每个业务流程都由多个连续的活动组成,例如请假这个业务流程,里面的活动有填写请假单、审批请假单等活动。注册的流程涉及填写手机号、获取验证码、输入密码等活动。
02.业务流程分析
业务流程分析就是在开始动手画之前对业务和执行过程进行详细的调查,并回答以下问题:
(1)业务流程的目的或者想达到的目标是什么?
(2)业务流程从哪里开始?如何完成?包含哪些活动和步骤?结束的条件是什么?
(3)这个业务流程有哪些角色参与?
(4)流程的活动之间有哪些控制流(判断、同步分支和汇合,稍后会说到)
03.业务流程画法
(1)业务流程图的基本元素
业务流程图的基本元素包括:活动、判定、开始和结束、文档、数据、控制元素,如下图:

不论用什么工具,记住这几个基本元素,就可以覆盖所有的业务流程。不管什么流程图,都可以仅用以上几个元素表达,比如跨部门职能流程图,就是加泳道而以,页面流程图,可以用『文档/数据』那个元素表示。
(2)绘制业务流程图的注意事项
绘制业务流程图,应该注意以下几点:
a.首先从核心业务流程图入手,它们是系统中起关键作用的部分。
b.绘图应该根据流程方向尽量从上至下、从左至右,保持一致性。
c.使用统一的符号。
d.一个流程只有一个起点,有一个或多个终点。
e.尽量避免交叉,并行的活动采用并行元素。
f.尽量识别出表格和文档。
(3)几种常见流程示例
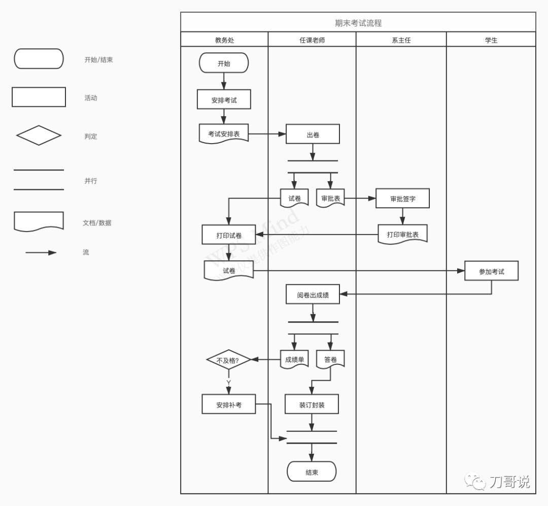
a.人与人
以某高校期末考试流程为例,期末考试前,教务处负责安排全校课程的考试时间和地点,下发『考试安排表』,正式考试之前,各任课老师准备好试卷,填写『试卷审批表』,交由系主任审批签字,签字后再交由教务处打印试卷,学生参加考试并答卷,产出成绩单,任课老师阅出成绩,并将答卷封装存档,如果不及格,教务处安排补考。

b.人与系统

c.系统与系统

04.其他常用的图
梳理流程图,本质上是一种建模,建模可以理解为通过一个模型去呈现未来系统的概貌,例如在楼还没有建好的时候,通过沙盘去构建一个模型,让购房者对未来的小区有个初步认知。
除了上面说的业务流程图外,还有其他的建模工具,如时序图和状态图。
(1)时序图
时序图,用于描述产品为实现某一具体目标,多个参与对象之间按时间顺序交互的过程。
时序图,与泳道活动图类似,不同的是,时序图更强调对象在交互过程中消息事件的发生顺序。
有时为了了解系统性能,或优化体验,要统计某些交互的时长,用时序图,就很方便定义和描述。
用时序图来梳理多个系统间的交互过程,特别好用,我最常使用。时序图画得好,泳道活动图不画都没关系。
同样用户充值话费过程,用时序图来梳理,可以对比下与泳道活动图的区别。

(2)状态图
状态图,用于描述产品为完成某个目标,某个对象的状态变化和流转过程。状态,是对象执行或等待某个事件的条件。
常见的,有电商的订单状态、快递物流状态、支付状态等。
系统中对象的状态细化和明确,对监控系统的处理过程,和事后问题排查有很大帮助。
状态图非常重要,又很容易被忽略。以前填过很多坑,就是产品没定义好状态,结果开发按自己想象补上了,事后发现问题,处理起来很麻烦。
如案例中,如今的话费充值,虽然到账时间很快,但订单在系统的流转过程,也有各种状态的变化。
下面以此为例,看看一个比较完整的状态图,可以注意下其与流程图的区别。

05.常用工具
画流程图常用的工具有Office Visio、 Processon、Axure、WPS,刀哥个人推荐WPS,功能跟Processon一致,非常好用,关键是免费,虽然有元素个数限制,但基本达不到上限。工具只是辅助呈现思路的手段,不是目的,只要弄清楚流程图的逻辑,用什么工具画,差别都不大,不要太纠结使用什么工具,用得顺手就行。
版权声明:本文内容由互联网用户自发贡献,该文观点仅代表作者本人。本站仅提供信息存储空间服务,不拥有所有权,不承担相关法律责任。如发现本站有涉嫌抄袭侵权/违法违规的内容, 请发送邮件至 举报,一经查实,本站将立刻删除。
