今天讲一下商标局网站如何查询商标,比较方便。
商标查询,有一个月左右审查盲区,商标查询结果,不管是免费查询,还是收费查询,仅作为参考,不能作为商标申请的依据。没有任何一个人能保证你申请的商标,以后肯定能注册成功。大家所能做的工作,就是将风险做到最低。商标注册申请永远不可能100%成功。
具体查询方法如下:

首先,打开官网http://sbj.saic.gov.cn/ 点击【商标查询】

点击【我接受】,进行下一步。

可以看到有;【商标近似查询】,【商标综合查询】,【商标状态查询】,【商标公告查询】
商标优先权的查询,主要使用到 【商标近似查询】。
商标综合查询,商标状态查询,是你已经申请了商标,或者已经有商标以后进行查询的一种方式。

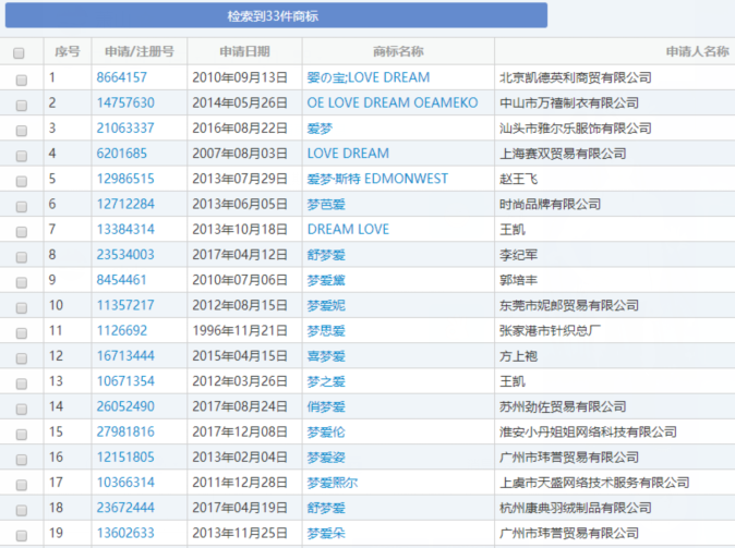
我们点击【商标近似查询】,就来到了查询页面,首先,让我们填写的商标类别,这个类别的选择在第一讲:《商标如何选择类别》中讲过。填写相应的类别。这里我们举个例子:比如我们查询服装行业,就是25类,商标名称:梦爱。我们对应填写进去。类似群可以不写。查询方式,相应选择。


以上就是在商标网自行查询的介绍。可以看到有人申请了“爱梦”与我们申请的“梦爱”虽然排列顺序不同,属于近似商标,容易驳回。
接下来的文章还会为大家讲解如何分析商标查询结果。
最后,不会查询的朋友,可以留下名称和行业 我帮你查询哦
版权声明:本文内容由互联网用户自发贡献,该文观点仅代表作者本人。本站仅提供信息存储空间服务,不拥有所有权,不承担相关法律责任。如发现本站有涉嫌抄袭侵权/违法违规的内容, 请发送邮件至 举报,一经查实,本站将立刻删除。
